Лет пятнадцать назад эта статья любому человеку показалась бы абсурдной. О каком выживании идет речь? Основные продукты в магазинах есть, вода, газ, электричество, тепло в квартиру поступают. Чего еще надо? Да и сегодня в большинстве регионов России жители подумают так же.
Но уже не во всех. В этом отличие того времени и нынешнего. Население Приднестровья, Таджикистана, Чечни, Карабаха, Абхазии, Дагестана испытало на себе, что есть выживание в условиях социальной катастрофы на практике. Через эти территории прокатилась война.
Но не одни только боевые действия могут послужить причиной резкой дестабилизации жизни. Целые регионы бывшего Союза, целые республики, а ныне самостоятельные государства узнали, что такое тепловой и энергетический кризис.
Энергетическая катастрофа
Да и в наших городах все чаще стали остывать батареи центрального отопления, отключаться электроэнергия.
Температура в домах в зимнее время опускается иногда ниже 10-градусной отметки. Это еще не выживание в полном объеме, но реальная заявка на него. Итак, представим вполне возможное происшествие – в вашем доме отключили полностью или частично тепло, водоснабжение, электричество, газ или включают их лишь на несколько часов в день.
Кстати, именно борьба за сохранение тепла – первое, с чем сталкиваются люди в условиях социальной катастрофы. Голод, эпидемии приходят потом. Первые страдания, первые смерти приносит холод. Современные бетонные, шлакоблочные и тому подобные многоэтажные дома плохо держат тепло и при уменьшении даже на несколько процентов теплоснабжения выстывают очень быстро.
Как выжить в доме с обрезанной пуповиной теплоснабжения, как спасти свою семью от переставшего быть добрым Дедушки Мороза? Для начала остановимся на приемах пассивной тепловой защиты – с сохранения того тепла, которое имеется.
Сохранение тепла
К сожалению, сохранять тепло, равно как и воду и электричество, нас не приучили. Если в большинстве развитых капиталистических стран на батареях и водопроводных кранах стоят счетчики, то у нас вода и тепло всегда были немеряны. Такое изобилие развращает.
Поэтому мы много меньше богатого капиталиста готовы к тепловому выживанию. То, что для нас ЧП – вода не хлещет из крана полной струёй, – для него норма жизни. Там краны на полную мощность не открывают. Там прибывание в ванну воды прямо пропорционально убыванию денег из кошелька.
Западных обывателей давным-давно приучили считать тепловые калории с помощью счетчиков и штрафов за чрезмерную утечку тепла из квартир. Вплоть до того, что облеченные властью инспектора ходят по улицам со специальными тепловизорами, составляя тепловые карты жилых домов, и подлавливают и штрафуют растратчиков калорий.
И температура там в домах как минимум на несколько градусов ниже, чем в наших жилищах. Потому что прохлада в доме дешевле. Нам науку сбережения тепла зачастую приходится изучать уже в условиях, приближенных к боевым. По пословице: грянул гром – начинаем истово креститься, а до того как-то забывали.
При угрозе холодовых аварий первое, что вы должны сделать, – это проверить свою квартиру на предмет утечки тепла. У нас с тепловизорами инспектора не ходят, так что придется обходиться своими силами. Во входной двери щели с палец? Заполните пространство между косяком и дверью каким-нибудь уплотнителем, в крайнем случае скрученными в валик тряпками.
Еще лучше – обейте дверь снаружи куском войлока или другого подобного утепляющего материала. В условиях, приближенных к аварийным, завешивайте дверной проем изнутри свободно свисающим от потолка до пола одеялом.
Подойдем к окнам. Опять пусть тонкие, но щели, через которые холодный воздух проникает внутрь. Пройдите вдоль рам с зажженной свечой или тонким перышком и с их помощью найдите сквозные, цедящие холод, отверстия. Заделайте их любым возможным способом: заклейте бумагой, забейте поролоном, тряпками, залейте краской, замажьте замазкой, пластилином и пр.
Обязательно заделайте обе рамы, и хорошо бы с двух сторон – и изнутри, и снаружи. Пространство между рамами можно, как это делали наши бабушки, выложить ватой или ненужными тряпками. В крайнем случае смятыми газетами. Это тоже сохранит вам несколько десятков калорий тепла.
Вообще борьба за тепло в квартире с отключенными тепловводами состоит именно из таких мелочей, направленных на экономию десятых и сотых долей градуса. “Из них суммарно складывается такое понятие, как тепловой комфорт. Решить проблему тепла разом, без подобных кропотливых и на первый взгляд малоэффективных действий, возможно только с помощью очень затратных способов.
Ну что, заткнули щели на окнах? Уже лучше. Считайте, пару градусов выиграли. На случай катастрофических похолодании можно порекомендовать заполнить пространство между рамами от низа до верха одеялами, подушками и ненужной теплой одеждой. Только плотно набивать утеплитель не стоит, от этого он становится менее холодоустойчивым. Более примитивный способ – повесить между рамами расправленное одеяло. Когда потребуется больше света, его можно приподнимать или сдвигать в сторону.
Пошли дальше. Шторы. С точки зрения выживания они должны быть максимально плотными, обязательно от пола до потолка, желательно светлого тона и обязательно круглосуточно зашторенными. Зашторили? И, конечно, неправильно. Не надо их задергивать так, как вы привыкли это делать в обычной жизни. Не закрывайте ими батареи центрального отопления, если они хоть чуточку греют. В экстремальных условиях вам тепло важнее эстетики. Заправьте шторы за батареи, чтобы они не задерживали тепло, а наоборот, отражали его в комнату.
Сами батареи протрите тряпкой, чтобы удалить с них пыль. Пыль также препятствует, теплоотдаче радиаторов. Или, что более кардинально, постарайтесь модернизировать батареи центрального отопления. Поставьте между ними и стенкой металлический лист, который будет служить экраном, отражающим тепло внутрь комнаты и одновременно нагреваться сам и нагревать окружающий воздух. Если металла не нашлось – замените его листом картона, окрашенного серебряной краской или оклеенного фольгой (см. рисунок).
Навесьте на батареи дополнительные металлические, ребристые или фигурные кожухи для увеличения поверхности. Старайтесь максимально увеличить площадь теплоотдачи. Так вы при той же температуре батарей значительно увеличите их эффективность. Сделайте не один, а два висящих друг над другом кожуха, но только обязательно оставьте между ними расстояние и набейте побольше дырок для оттока теплого воздуха.
В качестве импровизированных быстросъемных аккумуляторов тепла можно использовать длинные полосы металла или трубки, воткнутые в батарею с торца, навешенные со всех сторон консервные банки. Их эффективность, конечно, ниже, но все-таки лучше, чем ничего.
Какой металл следует использовать? В зависимости от того, какого эффекта вы добиваетесь. Если батарея греет слабо, но постоянно – предпочтительней алюминиевые сплавы, которые быстро нагреваются и так же быстро отдают тепло. Если батареи включают раз в сутки и ненадолго, лучше использовать массивное железо, которое будет нагреваться дольше, но так же долго остывать, поддерживая температуру в комнате.
И, кстати, сбейте с батарей краску – она тоже теплоизолятор. Красиво окрашенные батареи хороши в нормальных условиях, а не в аварийных.
Все равно прохладно? А вы вентиляцию закрыли? Нет? А вы знаете, что, согласно санитарно-гигиеническим нормам, через эти декоративные решетки под потолком весь объем находящегося в помещении воздуха должен обновляться каждый час? А вместе с воздухом, естественно, уходит и тепло.
Заделайте вентиляционные отверстия, и вы выгадаете еще несколько градусов. Да не бойтесь вы задохнуться, квартира – не подводная лодка, куда не может проникнуть воздух, найдутся щели. Для большего успокоения могу сказать, что на севере Канады строят дома-”термосы”, где во время сильных морозов допускается обмен лишь одной десятой объема воздуха в час. И никто на удушье не жалуется.
Все равно холодно? Тогда поступайте так, как это делали блокадники Ленинграда, – собирайтесь всей семьей в одной комнате, в которой и пытайтесь достичь теплового комфорта. Человек ведь тоже маленькая печка, и чем больше вас набьется в замкнутом пространстве комнаты, чем будет теснее, тем будет и теплее. Как говорится, в тесноте, да не в обиде. Зимою, в сорокаградусный мороз, штабелями укладываясь в сверхтесные снежные пещеры, мы в этом наглядно убедились.
Бывает, повернуться на другой бок так, чтобы не растревожить весь ряд, невозможно, дышать приходится через раз, то есть четные, потом нечетные, зато никакой мороз не страшен. Скорее тепловые удары для тех, кто лежит в центре.
Комнату для “общежития” лучше подбирать не самую большую (правило зимнего выживания – чем меньше объем снежного убежища, тем в нем теплее – подходит и для квартиры), с минимальным количеством и площадью окон и стен, выходящих на улицу. Наименее удобны в этом отношении угловые квартиры, имеющие две уличные стены, и квартиры последнего этажа, соприкасающиеся с крышей.
Да, и не забудьте завесить одеялом дверь, ведущую в комнату. Спать следует также в аварийном режиме – не поодиночке, каждый под своим одеялом, а вместе, и под единым, сшитым из отдельных кусков. Не согрелись? Тогда остается разбивать, внутри комнаты импровизированную, сшитую из ковров, одеял и покрывал шатер-палатку. И жить там, как в чукотском чуме.
Или утеплять глухое, без окон, помещение ванной комнаты. Так сказать, внутри квартиры создавать тепловой термос, для чего завесить одеялами все стены, двери, в идеале – потолок, выстелить тряпками пол. Но это уже в действительно экстремальных условиях, когда переизбыток пыли и спертый воздух уже не пугают, а вариантов подогреть внутреннюю атмосферу нет.
Честно говоря, в мирное время такую ситуацию представить сложно. Надо быть начисто лишенным фантазии и инициативы, если не можете найти способа обеспечиться дополнительным источником тепла.
В случае резкого похолодания и слабого нагрева батарей центрального отопления НАДО:
• проревизовать квартиру с целью обнаружения путей утечки тепла;
• заделать щели во входной двери. Обить дверь теплоизолирующим материалом. Завесить дверной проем от пола до потолка тканью;
• заделать (заткнуть, заклеить, замазать) щели в окнах изнутри и снаружи. Пространство между рамами заложить тряпками или газетами;
• при сильном холоде – повесить между рамами расправленное одеяло;
• использовать шторы из максимально плотного материала;
• заправить шторы за батареи;
• закрыть вентиляционные отдушины;
• стереть с батарей пыль и удалить краску – они поглощают тепло;
• между батареей и стеной поставить лист железа или картона, оклеенного фольгой. Он будет отражать тепло внутрь комнаты;
• навесить на батарею дополнительный металлический кожух или вставить в торцевые отверстия металлические трубы для увеличения площади теплоотдачи;
• в сильный холод жить всей семьей в одной комнате, небольшой кубатуры, с малым числом окон;
• спать вместе под одним, сшитым из нескольких одеялом. Так гораздо теплее.
НЕЛЬЗЯ:
• закрывать батареи шторами, так как они не будут пропускать в комнату тепло.
Способы активного обогрева
Начнем с простого. У вас отключили центральное отопление, но оставили газ и электричество. “Это просто, – скажет любой, – натащил в дом тенов и нагревателей, врубил в сеть – и жарься”. Согласен, и потому даю, как говорят в армии, дополнительное вводное – потребление электроэнергии в целях ее общегородской экономии строго ограничено.
Никаких там десятикиловаттных тенов и тепловозных и ракетно-космических печек, никаких самодельных “козлов” со спиралью в палец толщиной. В пределах разрешенной властью или обстоятельствами нормы. Как в Армении. Действуйте!
Тепловая пушка
Лучше всего в подобной ситуации пользоваться электронагревателями типа “Ветерок”, где раскаляющаяся спираль соседствует с вентилятором. Такие нагреватели, прогоняющие через себя холодный воздух, более эффективны и менее энергозатратны, чем просто греющие пространство возле себя. В крайнем случае обдувайте простой нагреватель (даже электроплитку или утюг) с помощью бытового вентилятора.
Из более простых способов, которые можно применять, даже имея в своем распоряжении низковольтные сети (от различных генераторов, аккумуляторов и т. п.), можно посоветовать обернуть горящую в вашей комнате электролампочку металлической фольгой, сделав своеобразный абажур. Фольга, нагревающаяся от соприкосновения с лампочкой, отдавая тепло, будет хоть как-то подогревать атмосферу. Чем мощнее лампочка, чем больше площадь нагретой фольги, тем больше “абажур” будет давать тепла.
Еще один пример выживаемости. Один мой хороший товарищ как-то пережил целую зиму в самодельном, вроде дачного, неотапливаемом доме в пригороде Салехарда с одним-единственным кипятильником, предназначенным для приготовления чая в стакане!
Он поставил посреди комнаты десяток колен обыкновенной батареи центрального отопления, залил их водой и, приварив сбоку импровизированный стояк, опустил туда кипятильник. Периодически включая и выключая его, он всю зиму удерживал в комнате температуру около 15°С. Молодец! Воистину голь на выдумки хитра. Не замерзать же ему было с молодой женой в студеную заполярную зиму.
При использовании газа можно посоветовать не жечь его с утра до вечера, особенно если он баллонный, а нагревать на нем какие-нибудь массивные предметы – металлические пруты, наковальни, обрезок рельса, массивные сковородки, сложенные в кастрюлю инструменты, гвозди, камни и пр.
Чем более монолитным и объемным будет нагреваемый предмет, чем сильнее он нагреется, тем дольше будет отдавать тепло. В крайнем случае, нагревайте кастрюли и канистры, заполненные водой. Вода тоже долго остывает. Только не кипятите их, чтобы не напустить пару. И обязательно закрывайте кастрюли крышками – повышенная влажность не способствует согреванию.
Наиболее надежны, удобны и экономичны изобретенные во времена великой революции печки-буржуйки. Делают их из 100-200-литровых металлических бочек, выводя трубу в форточку.
Возьмите то, что вы выбрали в качестве корпуса – флягу, бидон или ящик. Затем при помощи простого зубила прорубите небольшую щель в форме серпа. Она должна располагаться немного ниже горловины. Эта щель будет служить в качестве поддувала.
После этого в дне бидона или фляги вырежите дыру. В нее потом вы вставите изогнутый патрубок, а на него насадите дымовую трубу. Все это можно купить в специализированных магазинах или сделать своими руками из кровельного железа.
Конструкция – проще некуда: металлическая решетка, на которой горят дрова, поддувало с дверцей для регулировки тяги, еще одно отверстие для закладки дров и труба в верхней части, которая иногда тянулась через всю комнату, что обеспечивало дополнительный обогрев (а зачем без толку терять уходящее на улицу вместе с дымом тепло?).
Я думаю, читатели и сами не раз видели в кинофильмах, посвященных войне и революции, подобные не очень эстетичные, но очень практичные сооружения. Десяткам тысяч людей такие “бочки” спасли жизнь.
Из более сложных и симпатичных конструкций можно предложить различные садовые и туристские печки, которые можно либо купить сегодня впрок, либо изготовить, когда будет необходимость, по чертежам, опубликованным в литературе, посвященной садоводству и путешествиям.
Правда, даже самая изысканная печь без дров – это только груда холодного металла. Что может гореть в печке? В экстремальных условиях все, что угодно: заборы, подъездные двери, деревья из ближайших скверов, дворовые скамейки и бумажно-деревянный уличный мусор.
Это убедительно подтвердили холодные ереванские зимовки. Заборов, скамеек, деревьев там почти не осталось, несмотря на призывы властей к прекращению вакханалии дровяных заготовок. Все верно – чем дальше в лес, тем больше надо дров. Очень хочется надеяться, что Россия до такого дойдет не скоро.
И еще в качестве топлива можно использовать… кирпичи. Это тоже армянский опыт. Кирпич, на несколько часов положенный в солярку и впитавший, словно губка, горючку в себя, горит в печке-буржуйке несколько часов. Вот ведь какие изобретения заставляет людей делать экстремальная жизнь. А говорят, мозги в холоде работают хуже.
Кстати, наш российский, точнее, ленинградский блокадный опыт показал, что очень неплохо горят книги, причем, если вы хотите иметь сильный и жаркий огонь, их надо разрывать на отдельные листы, а если несильный, но долгий – закладывать в топку целиком. Точно так же используются старые газеты и другая бумага – плотно свернутая и связанная проволокой горит долго, по отдельности – быстро.
Правда, тот же трагический опыт показал, что книгами люди жертвовали в последнюю очередь, после того, как в печках сгорала мебель. Интересно, как бы эта очередность выглядела сейчас?
В сверхэкстремальных, обычно военных, условиях в печь запускают перила от подъездных лестниц, мебель, половицы от деревянных полов в одной из комнат (одни они могут обеспечить при экономном горении тепло на несколько недель) и т. п. А еще может гореть бензин, смешанный с песком, высушенный навоз, органическое стекло, пластмассовая посуда, веревки, старая одежда, кости животных и т. п.
Из менее громоздких обогревательных приборов можно посоветовать различные примусы, керосинки, спиртовки, паяльные лампы, переносные газовые печки и т. п. Если вы применяете их для обогрева, а не приготовления пищи, то следует добиться максимально экономичного использования горючего. Например, в керосиновых лампах, спиртовых и прочих горелках уменьшить толщину фитиля.
Из переносных газовых плит для экономии газа в баллоне можно попытаться соорудить импровизированный камелек. Для этого на патрубок, расположенный за понижающим давление редуктором и регулятором пламени, надо надеть любой резиновый шланг, на конце которого, в свою очередь, закрепить медную или другую металлическую трубку с расплющенным концом.
Газ, просачиваясь сквозь щель на конце трубки, будет гореть ровным, слабым пламенем. Такое капельное горение очень экономично и в то же время эффективно, по крайней мере настолько, чтобы обогревать небольшое помещение.
! Только не надо экспериментировать с баллонами, не имеющими редуктора, понижающего давление. Это крайне опасно.
Удобны для освещения помещений керосиновые лампы типа “летучая мышь”. Кроме того, они еще и греют. В чрезвычайных условиях, кроме керосина, подобные лампы можно заправлять соляркой и жидкими животными жирами. Правда, в этом случае лампа сильно чадит.
При использовании керосиновых ламп для обогрева их стекло целесообразно обернуть металлической фольгой. Еще лучше надеть сверху на лампу свернутый из фольги широкий кулек с отверстиями в куполе для отвода воздуха, нижнюю часть которого распустить в виде фартука или нарезать на свободно свисающие полоски.
При этом, чем больше окажется площадь фольги, тем выше будет теплоотдача лампы. При отсутствии фольги можно повесить над лампой металлическую миску или котелок, которые будут нагреваться в поднимающихся от лампы тепловых потоках. Большое помещение керосиновая лампа не согреет, а в маленьком поддерживать более или менее приемлемую температуру, я думаю, сможет.
Поняв принцип работы керосиновых ламп и используя ту же схему, нетрудно, если есть соответствующее горючее, соорудить импровизированную спиртовку. Спирт (или любую другую способную гореть спиртосодержащую или иную жидкость) надо залить в бутылку, флакон, аптечный пузырек и пр.
В пробке ножом прорезать узкое отверстие, сквозь которое пропустить фитиль – узкую полоску ткани. Пропитавшийся спиртом конец фитиля поджечь. Такими изготовленными из орудийных гильз коптилками освещали блиндажи во время войны бойцы передовых частей.
Не следует забывать о таком источнике света, как свечи. Обыкновенная, десятисантиметровая стандартная свеча способна гореть более трех часов. Для более рационального использования “горючего” свечу следует устанавливать внутри пустой консервной банки или кружки.
Очень важно, чтобы свеча стояла строго вертикально, тогда при горении возле фитиля образуется углубление, где будет собираться расплавленный стеарин. Только в этом случае стеарин будет сгорать полностью. Надо постоянно следить за безотходным горением, потеки стеарина простительны в обычной жизни, но никак не в аварийной ситуации!
Весь неиспользованный стеарин или парафин, а также огарки свечей надо аккуратно собрать, растопить и слить в какую-нибудь небольшую емкость – банку, кружку, аптечный пузырек, стакан, флакон с отбитой горловиной.
В качестве фитиля в подобной импровизированной свече можно использовать кусок марли, бинта, ткани, намотанных на арматуру, удерживающую фитиль в вертикальном положении. Арматура изготовляется из обрезка любой имеющейся в распоряжении проволоки (в том числе невидимок, булавок и пр.), с одной стороны свернутой в кольцо, образующее устойчивое основание.
Свеча может порадовать вас не только светом, но и теплом. Не такая уж она маломощная. К примеру, ночуя в тайге при температуре “на улице” минус 30-40 градусов, мы с помощью свечки улучшали климат в снежных убежищах (пещерах и норах) на 40-50 градусов! То есть поднимали температуру до плюс 10!
И заодно готовили на огне свечей еду! Например, варили в кружке быстрорастворимый суп! Если у вас нашлось лишнее масло или животный жир, можно попробовать изготовить жировую лампу. Отапливают же ими свои яранги северные народы. Так почему бы и вам не попробовать обогреть комнату в типовой пятиэтажке?
В качестве фитиля в лампе используется ткань, расплетенная веревка, кусок бинта, любой другой материал, хорошо впитывающий жир, масло. Фитиль смачивается или натирается жиром. Чем толще фитиль, тем больше он дает света и тепла, но в то же время больше требует топлива.
Самая простая по конструкции лампа сооружается из мелкой посуды – кастрюльки, тарелки, блюдца и пр., – заполненной горючим материалом. На поверхность жира опускаются два-три фитиля. И поджигаются. Если свободно плавающие фитили не загораются, их можно одним концом вытащить на край емкости.
Гораздо более надежны лампы с фитилями, удерживаемыми на поверхности горючей жидкости с помощью примитивного каркаса. В них также используются любые горючие масложировые жидкости. Утапливать или поднимать фитиль, регулируя тем интенсивность горения, можно, сгибая или разгибая держатель, изготовленный из проволоки, куска жести, заколки.
Проволочному держателю лучше всего придать форму круглого основания с перпендикулярно выступающим штырем. Жести – спирали или раздвигаемой в стороны скобы. В некоторых случаях фитиль можно подвесить над поверхностью горючей жидкости на двух проволочках.
И даже древняя, архаичная лучина может пригодиться в аварийной ситуации. Настрогать лучины можно из середины расколотого вдоль сухого полена. Интенсивность горения регулируется углом наклона лучины. Чем ниже наклонен горящий конец, тем больше язычок пламени, и наоборот. Закрепить лучину проще всего, прибив к какой-нибудь деревяшке одним гвоздем, чтобы она могла крутиться, поднимаясь и опускаясь. Для лучшего горения лучину можно натереть парафином, стеарином, жиром.
! Во всех случаях при использовании в квартире открытого огня следует опасаться отравления угарным газом (СО2), который в непроветриваемом помещении может быть смертельным для находящихся там людей. Чтобы не случилось беды, необходимо добиваться максимально полного сгорания продуктов горения, не оставлять открытое пламя без присмотра, закрывать дымоходы только после того, как в печи перестали “дышать” огоньки. Особенно опасны синеватые язычки пламени, указывающие на выделение угарного газа.
И еще. Необходимо помнить о противопожарной безопасности. Взгляните на свою комнату и представьте, насколько опасна может быть “буржуйка”, стоящая вот на этом паласе, возле этой стенки и дивана. Дай бог, чтобы ее там никогда не было! Но если все-таки когда-нибудь ставить ее придется, то позаботьтесь выстелить пространство под ней негорючим материалом – кирпичами, шлакоблоками, асбестом, металлом – и убрать подальше, в том числе и от трубы, все горючие материалы. Возможно, вы и сожжете свою мебель и вещи, но постепенно, в течение зимы, в печке, а не немедленно, разом и вместе со всем домом.
Для поддержания плюсовой температуры в помещении НАДО:
• использовать электронагреватели вентиляторного типа;
• повесить на лампочку абажур из фольги. В том числе на керосиновые лампы;
• изготовить импровизированное “центральное отопление”, опустив в стояк батареи кипятильник;
• нагревать на газе массивные металлические предметы (трубы, наковальни, обрезки рельсов и пр.), которые, постепенно остывая, будут подогревать • • • воздух в квартире;
• использовать примусы, переносные газовые печки и пр.;
• установить печку-буржуйку, изготовленную из бочки, или банные и прочие печи;
• в качестве топлива использовать любое дерево, сухой навоз, бензин, смешанный с песком, и даже кирпич, намоченный в солярке;
• при отсутствии печки – изготовить спиртовки, камельки, “коптилки”, жировые лампы и пр.;
• при использовании открытого огня необходимо быть готовым к тушению пожара и опасаться угорания! Синеватые язычки пламени, головокружение, головная боль указывают на выделение угарного газа.
“Школа выживания в условиях экономического кризиса”
Андрей Ильичев
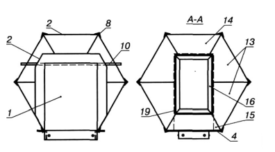
Как сделать печь буржуйку из бочки своими руками
Наверное не один человек задается вопросами как сделать буржуйку своими руками? и как правильно сделать буржуйку?
Буржуйка своими руками – это печь небольших размеров, которая выполняется из металлических листов. Такая печь может очень быстро нагреть помещение (если оно не сильно большое), но она так же быстро и остывает после того как топливо прекращает гореть.
Если говорить о их форме, то они могут быть самыми разными (круглыми, квадратными, прямоугольными, конусные или в виде чего-нибудь), тут зависит от фантазии человека, который ее делает.
Но мы в данной статье остановимся на шестигранной буржуйке из бочки. Вы когда-нибудь задумывались над тем, как сделать из бочки буржуйку?
1 – кожух (бочка);
2 – крышка топливного бака;
3 – выходная труба;
4 – крышка футеровочного отсека;
5 – ручка крышки;
6 – духовой шкаф;
7 – заслонка;
8 – топливник;
9 – поддувальный отсек (зольник);
10 – опорные кирпичи;
11 – войлочная прокладка;
12 – металлический лист.
На рисунке вы видите буржуйку, при разработке которой были использованы общедоступные материалы. В первую очередь нам понадобилась бочка, емкость которой равна 200 литров, высота бочки – 850 миллиметров, а диаметр – 600 миллиметров. В такую бочку с легкостью вписывается шестигранник, сторона которого равна 290-300 миллиметров. Это дает возможность практически без дополнительных работ устанавливать стандартные печные приборы
Такая печь очень отличается от множества самодельных печей такого же класса. Отличается она следующим:
- печь обладает объемным топливником;
- обладает увеличенной площадью за счет того что камера сгорания топлива является шестигранной;
- объемным зольником с регулятором воздуха;
- объемным духовым шкафом с футеровкой;
- печь долгое время сохраняет тепло.
Кроме того, эта печь имеет хороший эффект конвекции – это передача тепла через воздух, который проходит через каналы, находящиеся между топливным блоком и кожухом.
Печка буржуйка своими руками – порядок сборки
Топливный блок будем варить, потому для того чтобы не допустить ошибок необходимо сделать шаблон, который можно вырезать из плотной бумаги (картона) или фанеры.
Топливный блок
1 – духовой шкаф;
2 – футеровочный отсек;
3 – корпус топливного бака;
4 – передняя панель поддувального отсека;
5 – уголок рамки дверки духовки;
6 – верхняя пластина футеровочного отсека;
7 – футировочная ниша;
8 – верхний упор;
9 – боковая панель корпуса топливого блока;
10 – опорный стержень;
11 — промежуточная пластина;
12 – уголок рамки дверки топливника;
13, 14, 15 – донные пластины топливника;
16 – седло колосника;
17 – асбестовая прокладка;
18 – обечайка двери;
19 – боковая стенка зольника;
20 – бол крепления дверцы;
21 – нижняя стойка;
22 – скоба крепления заслонки.
Шаблон должен быть в виде правильного шестигранника, стороны которого равны 290 миллиметров. Сделав шаблон, у вас не возникнет проблем со сборкой, надо будет только по шаблону все собрать, наживить, и можно приступать к сварке.
Далее по подготовленным чертежам варим:
- духовой шкаф;
- футеровочный отсек;
- поддувальный отсек.
Футеровочый отсек
1 – дно;
2 – боковина;
3 – задняя стенка;
4 – диагональная вставка.
Духовой шкаф
1 – духовой короб;
2 – опоры.
Поддувальный отсек
1 – боковая стенка зольника;
2 – задняя стенка зольника;
3 – седло колосника;
4 – передняя панель поддувального отсека;
5 – рамка крепления поддувальной дверцы;
6 – дно зольника.
Передняя панель
В первую очередь устанавливаем и привариваем поддувальный отсек, для которого по шаблонам были заранее приготовлены пластины.
Сверлим отверстия диаметром 10-12 миллиметров для установки опорного стержня, затем тщательно провариваем места крепления отсека. Так же привариваем промежуточную пластинку, размеры которой – 285х70 миллиметров. Делаем это таким образом, чтобы ее верхняя кромка совпадала с верхним уровнем стержня. Далее на стержень с пластиной устанавливаем футеровочный отсек, совмещаем более узкую сторону его дна со всеми ребрами боковых панелей нашего корпуса и привариваем все необходимые соединения сплошным швом. К пластинке с верхней кромкой передней панели поддувального отсека привариваем горизонтальный полосы, длина которых равна 290 мм., а уголки – 215 миллиметров, для того, чтобы образовать рамку крепления топочной дверки, у которой внутренний размер – 255х215 миллиметров. Устанавливаем в футеровочное отделение духовой шкаф, привариваем боковые уголки длинной 215 миллиметров, а затем и верхнюю пластину от футеровочного отсека.
После, привариваем к выступающей верхней части футеровочного отделения с боковыми панелями крышку топливника. А к крышке этого топливного блока привариваем небольшой кусок трубы, диаметр которой 100 миллиметров. Потом по чертежу привариваем верхние упоры с нижними стойками блока. Стойки изготавливаем из уголков размером 20х20х4 миллиметров или прута диаметром 10-12 миллиметров.
После того как работу по изготовлению топливного блока (топливника) закончим, производи доработку бочки. То есть, приступаем для начала к вырезке или вырубке верхнего дна бочки. В цилиндрической части бочки от верха до низа вырезаем полоску шириной 300 миллиметров таким образом, чтобы эта полоска на 50 миллиметров не доходила до дна бочки. В местах предполагаемых конвекционных каналов во время установки топливного блока в подготовленную бочку, проделывают в ее дне дырки (отверстия), общая площадь которых – 5-6 дециметров квадратных.
Когда уже топливный блок установили в бочку, приступаем к обжимке, обжимаем края выреза по ребрам блока и привариваем их к нему.
Устройство регулятора тяги:
1 – поддувальная дверка;
2 – запорная ручка дверки;
3 – ручка поворота задвижки поддувала;
4 – задвижка;
5 – гайка, контргайка ручки поворота.
Прежде чем приступить к установке поддувального отсека в топливный блок дорабатываем поддувальную дверку соответственно устройству регулятора тяги, то есть, изготавливаем все детали, вырезаем отверстия диаметром 35 миллиметров в дверке и два таких же отверстия в задвижке.
Далее устанавливаем дверки в топливный блок и после их установки укладываем в футеровочную нишу три кирпича (огнеупорных), а затем закрываем ее заслонкой, засыпаем пространство между футеровочной нишей и духовым шкафом гранитной крошкой. Гранитная
Крошка должна быть фракций 15-20 миллиметров. Также можно использовать крошку из фаянсовых изделий:
- ванн;
- унитазов;
- умывальников и т.д.
Засыпку закрываем съемной крышкой – крышкой футеровочного отсека.
Если необходимо заменить футеровку, для этого изымаем кирпичи и извлекаем крошку через нишу, а потом заполняем футеровочный отсек новой футеровкой.
Перед тем, как такую печь-буржуйку установить на постоянное место, под нее укладываем войлок – это необходимо для пожарной безопасности. Войлок предварительно необходимо пропитать глиной. После укладывания войлочного шара, его покрываем предтопочным листом.
Основные приборы и материалы используемые для изготовления буржуйки
| Материалы и приборы | Количество | |
| Лист боковой панели корпуса топливного блока 550х290 мм. | 5 | |
| Лист шестигранный со стороной 300 мм. | 1 | |
| Лист треугольный с равными сторонами 325 мм. | 6 | |
| Комплект листов футеровочного отсека | 400х380 мм. | 1 |
| 350х250 мм. | 2 | |
| 350х280 мм. | 1 | |
| 350х80 мм. | 2 | |
| Комплект листов духового шкафа | 400х280 мм | 2 |
| 350х280 мм. | 2 | |
| 280х220 мм. | 1 | |
| Комплект листов зольника | 400х200 мм. | 2 |
| 400х210 мм. | 1 | |
| 210х200 мм. | 1 | |
| 290х90 мм. | 1 | |
| Лист предтопочный 800х1000х(0,8-1,5) мм. | 1 | |
| Стальной уголок 50х32х4(40х40х4) мм, общая длина 1000 мм. | 1 | |
| Стальная полоса 50х4(40х4) мм., общая длина 1500 мм. | 1 | |
| Колосниковая решетка 300х200 мм. | 1 | |
| Топочная дверка 250х210 мм. | 2 | |
| Поддувальная дверка 140х140 мм. | 1 | |
| Асбестовая ткань длиной 2000 мм., шириной 40 мм. | 1 | |
| Войлок 800х1000х10 мм. | 1 | |
Кроме всего этого вам понадобится еще несколько кирпичей, для того чтобы установить печь на предтопочный лист и 3 кирпича (тугоплавких) для футеровки нижней части духового шкафа. Еще вам будут нужны болты: М8 или М6, которые вы будете использовать для крепления печных дверок (приборов) к арматуре топливного блока.





















4 комментария
Все эти печки приведённые-отсталые.
Если и мастерить самому,али заказывать,то проще лучше делать печку длительного горения.Типа Булериана.
Трудозатраты теже,а толку в разы больше.Чудесную идею подогнал некий «бубафоня»,на форуме .Народ давно лепит мет. печи по его мотивам.Кто из бочки 200л,кто из пропановых баллонов.Кто даже котлы отопления мастерит по идее «стропувы» и «бубафони».Идея очень простая,исполнение тоже.Горит экономно и долго.Ссылки давно потерял,стало неактуально.
Ищем: Печь длительного горения бубафоня
Кажеться нашёл первоисточник,но там регистрация стала нужна: http://www.snowmobile.ru/forum/viewtopic.php?f=63&t=25275 печка Бубякина Афанасия,вроде.
Даже овльная ,под дрова есть: http://www.chipmaker.ru/topic/27218/page__st__160
http://sdelay-sam.su/blogs/nik4960/pech-dlitelnogo-goreniya-bubafonya